PRODUCT CENTER
聯系我們
聯系人:尹經理
聯系電話:13276363313
QQ:1138303036
公司地址:山東省濰坊市高新區光電路155號光電產業加速器(一期)
防爆傳感器化工園區防爆罐區氣象環境監測應用解決方案
作者:天合環境科技有限公司更新時間:2022-05-05 17:27:43
風速和風向是自然氣候監測中主要的數據,,每天它們都會發生變化,在工業中人們常利用它們來避免大風天氣對工業生產造成的破壞,也為防火指揮提供有力數據信息,因此人們對風速風向儀的測量變得尤為重要,過去傳統的人工觀測早被專業儀器所取代。
AQ 3036-2010 危險化學品重大危險源 罐區 現場安全監控設備設置規范中 就提出4.2.7 罐區應實時檢測風速、風向、環境溫度等參數。
防爆氣象站能夠動態顯示各罐區站點周圍實時的氣象信息,幫助調度員進行綜合氣象分析。針對化工企業而開發的環境監測系統,旨在為企業開展?;a品的生產、儲運和特發事件應急管理提供實時氣象服務。此外,通過導入省內各基建工地位置信息,該系統還可以幫助建設單位及時調整工作安排,減少惡劣天氣對工程進度的影響。
山東天合環境科技有限公司作為專業研發生產銷售一體化防爆氣象傳感器的企業,一直致力于微型氣象儀和氣象環境解決方案推廣應用。具有完整的生產鏈、實力雄厚的技術團隊和全面的營銷團隊,我們研發生產的超聲波防爆風速風向儀、防爆五要素微氣象儀等氣象產品,已廣泛應用到化工廠、油庫、隧道、礦井等領域,客戶遍布全國各地,并取得了良好的社會效益和經濟效益。與傳統的微型氣象儀相比,我司產品克服了對高精度計時器的需求,避免了因傳感器啟動延時、解調電路延時、溫度變化而造成的測量不準問題。
TH-WFB5型防爆五要素微氣象儀創新性地將風速、風向、溫度、濕度、大氣壓力通過一個高集成度結構來實現,可實現戶外氣象參數24小時連續在線監測,通過數字量通訊接口將五項參數一次性輸出給用戶。
產品特點
1、頂蓋隱藏式超聲波探頭,避免雨雪堆積的干擾,避免自然風遮擋(實用新型專利,專利號ZL 2020 2 3215713.X)☆
2、原理為發射連續變頻超聲波信號,通過測量相對相位來檢測風速風向(發明專利,專利號ZL 2021 1 0237536.5)☆
3、風速、風向、溫度、濕度、大氣壓力五要素一體式(實用新型專利,專利號ZL 2020 2 3215649.5)☆
4、采用先進的傳感技術,實時測量,無啟動風速☆
5、抗干擾能力強,具有看門狗電路,自動復位功能,保證系統穩定運行
6、高集成度,無移動部件,零磨損
7、免維護,無需現場校準
8、采用ASA工程塑料室外應用常年不變色
9、產品設計輸出信號標配為RS485通訊接口(MODBUS協議);可選配232、USB接口,支持數據實時讀取☆
10、探頭為卡扣式設計,解決了運輸、安裝過程松動不準的問題☆
11、具有Ex ia IIC T4 Ga高等級防爆證書☆
技術參數
1)風速:原理超聲波,0~70m/s(±0.1m/s);(北京市氣象校準證書)☆
2)風向:原理超聲波0~360°(±1°);(北京市氣象校準證書)☆
3)空氣溫度:原理二極管結電壓法,-40℃~85℃(±0.3℃);(北京市氣象校準證☆書)
4)空氣濕度:原理電容式,0~100%RH(±2%RH);(北京市氣象校準證書)☆
5)大氣壓力:原理壓阻式,300hPa~1100hPa(±0.02hPa);(北京市氣象校準證書)☆
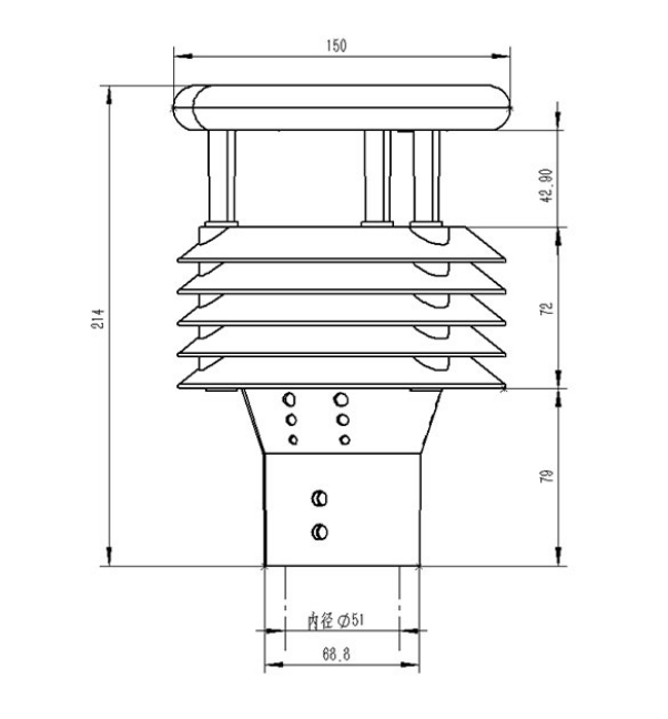
產品尺寸圖

產品結構圖

1、控制電路
2、指北箭頭
3、超聲波探頭
4、百葉箱
5、溫度、濕度、氣壓監測位置
6、底部固定法蘭(選配)
應用案列圖

文章地址:http://www.zshediao.cn/jjfa/601.html

您當前位置:






